编辑:佚名 来源:财经新闻网
来源:上海信托圈
导读:6月3日,渝农商行公告,重庆国际信托申请轮候冻结隆鑫控股持有本行4.7亿股份,冻结期为自转为正式冻结之后的3年。目前,渝农商行股价在4.2元左右,本次重庆信托申请冻结4.7亿股,价值约19.74亿元。

6月3日,渝农商行发布公告,隆鑫控股有限公司(隆鑫控股)持有的该行4.7亿股份被轮候冻结。这是今年以来隆鑫控股所持渝农商行股份的第二次轮候冻结,至此,其持有的5.7亿渝农商行股份全部处于质押/司法冻结状态。
本次冻结申请人为:重庆国际信托股份有限公司。

图片来源:公告截图所持渝农商行全部股份均被质押/冻结
渝农商行3日发布的《重庆农村商业银行股份有限公司关于股东股份被轮候冻结的公告》显示,该行收到中国证券登记结算有限责任公司上海分公司《股权司法冻结及司法划转通知》(2021 司冻 0601-1 号)。
重庆国际信托股份有限公司申请轮候冻结隆鑫控股4.7亿股份,冻结期为自转为正式冻结之后的3年。
隆鑫控股持有渝农商行5.7亿股限售流通股,占渝农商行总股本的比例为5.02%。本次轮候冻结股份数量为4.7亿股,占隆鑫控股所持股份比例为82.46%,占渝农商行总股本比例为4.14%。
目前,渝农商行股价在4.2元左右,本次重庆信托申请冻结4.7亿股,价值约19.74亿元,重庆信托本案涉及金额不小。
自2019年10月29日以来,隆鑫控股持有的渝农商行5.7亿股份已经受到4次轮候冻结。截至一季度末,已全部处于质押/司法冻结状态。申请人分别为重庆三峡银行大坪支行、芜湖华融资本创昇投资中心、宁夏华融资本拓荣投资中心、重庆大顺投资股份有限公司、重庆国际信托股份有限公司。
隆鑫控股曾于2020年6月30日发布《关于无法披露2019年年度报告及2020年第一季度财务报表的公告》。公告称,自2018年5月以来,受宏观经济形势变化,外部巨额应收账款无法收回等不利因素的影响,隆鑫控股公司出现资金流动性问题并陷入了债务危机。
2021年1月20日,涂建华控制的隆鑫控股公告称,公司因某企业长期拖欠巨额款项不还,以及受国家金融政策变化影响,无法获得新增贷款,公司资金状况紧张,导致公司部分债务出现逾期,金额合计60.37亿元。
2021年5月6日,隆鑫控股公告,公司出现严重的流动性困难,未能按期兑付2016年第一期中期票据(下称“16隆鑫MT001”)本息。
针对隆鑫控股目前的债务问题,界面重庆致电隆鑫控股有限公司党委书记何志。
何志表示,过往债务问题其本人未涉及,并不知情,“目前对于债务问题的解决工作正在进行,并且一定会有定论。”

图片来源:公告截图重庆“商界传奇”被法院列为被执行人
“隆鑫系”创始人涂建华于1993年开始涉足摩托车行业,成立重庆隆鑫交通机械厂研究生产发动机,2003年成立隆鑫控股,业务包括工业制造、金融服务、房地产开发、资源投资等。
2012年,房地产板块连续第5届被评为“中国房地产开发企业50强”,同年以摩托车为主营业务的隆鑫通用在A股融资上市。
近年来,隆鑫控股先后布局A股、港股,发展成为拥有金控平台以及多家银行股份的投资控股集团,涂建华已经构筑成资本市场举足轻重的“隆鑫系”。
《2019年胡润百富榜》涂建华以120亿身家位列榜单第320位,成为“重庆首富”。
30多年打造的资本巨轮,倾覆只在转瞬之间。2019年由于一笔巨额拖欠款,隆鑫坠入债务泥潭,一代商界传奇折戟。
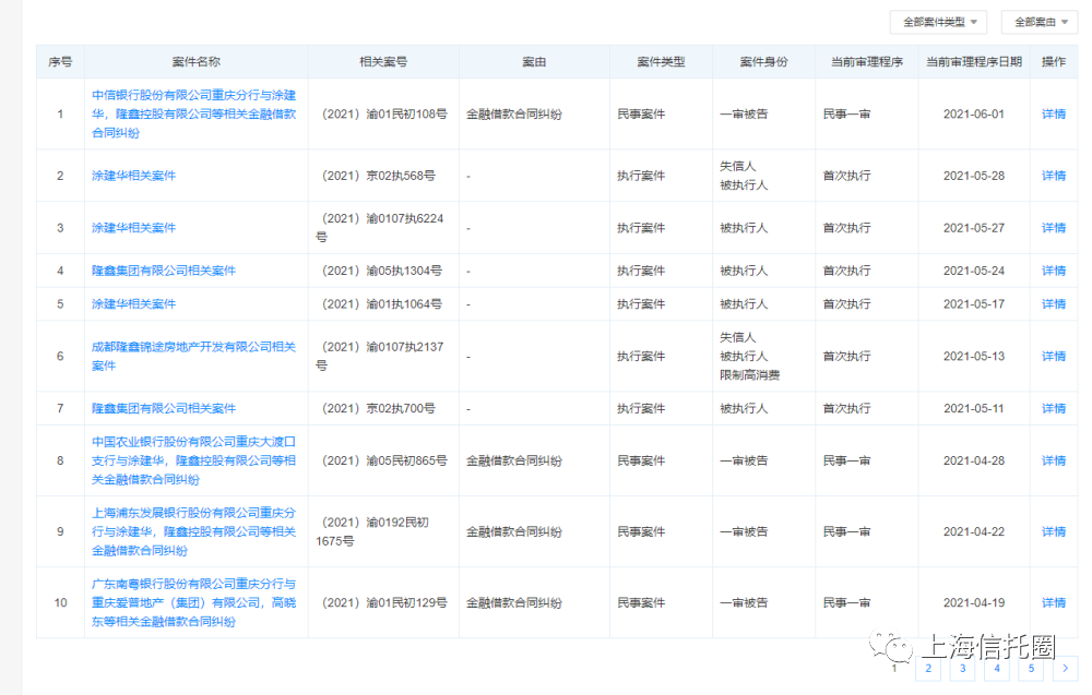
2019年7月29日至今,隆鑫控股及其法定代表人涂建敏、实际控制人涂建华,被法院列为被执行人16次,发布限制高消费令5次。涉及与中信银行、农业银行、浦发银行、广东南粤银行、华夏银行、宁夏华融资本拓荣投资中心等多家金融机构在内的9起金融借款合同纠纷案。

重庆信托状告华辰物业,系破产债权确认纠纷
另外,6月4日,本财经获悉,重庆华辰物业发展有限公司(华辰物业)新增10起开庭公告,案由均为破产债权确认纠纷,上诉人/原告均为重庆国际信托股份有限公司,被上诉人/被告为周某、华辰物业、王某等,案件将集中于7月15日开庭审理。
据企查查,华辰物业曾涉司法案件超100起,历史被执行人87次,历史被执行总金额超10亿元。裁判文书统计分析,所涉及案件中,民间借贷纠纷最多。
上海信托圈综合:乐居财经/界面新闻等

责任编辑:唐婧